
引入装置又叫进线装置,是外电路的导线或电缆进入防爆电气设备的过渡装置。引入装置常被视为防爆电气设备zui薄弱的环节,它的密封十分重要。
常用的引入装置密封有三种结构:
1、密封圈式引入装置;该引入装置使用广泛,包括压盘式、压紧螺母式引入装置(俗称喇叭嘴);
2、浇铸固化填料密封式引入装置;
3、金属密封环式引入装置。
电缆引入装置是指将电缆引入电气设备而不改变该设备防爆型式的装置。
在有危险性气体或者粉尘的工业环境中,对采用的仪器、仪表的防爆性、防护等级都提出了特定的要求,电缆引入装置属于仪器、仪表的一个重要部分,该装置单独满足防爆、防护等级要求,在仪器、仪表的其它部分都满足现场要求的情况下,配有该装置的仪表就完全可以满足防爆要求。
首先电缆引入装置应符合GB/T3836.1-2021的标准,采用的是压紧密封方式达到了密封、防爆要求,材料可根据现场使用环境来选择,需考虑可否导磁、是否需要抗腐蚀性能等等,常用的有优质低碳钢或耐酸不锈钢、环保铜镀镍等等。
螺纹除要符合国标、便于互换外,还要满足密封要求,Betway体育app最新版本更新内容建议采用密封锥管螺纹,螺纹的啮合扣数要大于8,而且螺纹的配合精度也有一定的要求,比如6H6g。
要强调的是尺寸фdx,其中公差很重要,它要根据密封件的外径尺寸фA来定,影响着整体的密封效果。因为橡胶制品的变形量大,尺寸精度会较低;这就要求фdx要尽可能的满足的橡胶密封件,但并不是说фdx公差的越严格越好,引入端子与密封件的单面间隙zui好处于0.05~0.1mm 之间。
另外,壁厚也要满足防爆要求;上垫片与下垫片的材料要符合使用场合的要求,其作用都是缓冲变形。
密封件是本装置能否到达密封效果的关键,密封件的材料一般选用丁腈橡胶或者硅橡胶,也可以根据不同的应用场合来改变。
压紧端子是整个电缆引入装置的zui后一步。压紧端子旋进的长度要能够完全压紧上垫片、密封件和下垫片,使密封件的变形量满足密封要求;另外密封件需要做老化试验,整个装置装配完成后,需要做气密性试验,检验是否满足气密性。
各防爆接合面的长度满足防爆要求且要涂有防锈油;各防爆螺纹的啮合长度满足防爆要求。
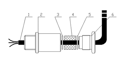
电缆的引入装置
其中:1—同轴电缆 2——引入端子 3——上垫片 4—密封件 5——下垫片 6——压紧端子
本文版权归Betway体育app最新版本更新内容,抄袭盗用将保留追究权利,转载必须注明原文出处。
粤公网安备44030002007506号 粤ICP备18004888号
